Tastați câteva cuvinte pentru a găsi conținut eg:
fuse,arrestor,00110115 technical...
Căutări recente
Asistență tehnică
This email address is being protected from spambots. You need JavaScript enabled to view it.

Bază siguranțe DI E16 25A EZV 1p 002321001 Invechit

Stoc
3
Disponibil
în 24h
Putem livra acest produs in 24 de ore.
COM_ETISTORE_ITEM_MESSAGE_OBSOLETE_TERMINATED

Specificatii

Cod ETI:
002321001
Descriere:
*DI E16 25A EZV 1p
Denumire clasă:
Bază siguranțe
Tip montaj:
Base plate mounting
Tip:
EZV
Mărime:
DI
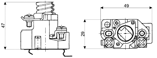
Dimensiuni:
E16
Număr de poli:
1
Curent nominal (A):
25
Tensiune nominală AC (V):
500
Conectare:
M5

Documente

Produse

Greutatea produsului
0.068  kg
Tarif vamal
85389099  

Ambalare de baza

Cantitate
5  
EAN
3838895447436  
Greutate
0.33  kg

ambalare pentru transport

Cantitate
250  
EAN
3838895447443  
Greutate
16.9  kg
Cantitate. transport
6000  
Clasificare
EC000094
Denumire clasă
D-system fuse base
Number of poles
1
Construction size
DI
Material
Porcelain
Model
Fitted screw
Mounting method
Bottom mounting
Rated voltage
500V
Rated current
25A
Clasificare ETIM – Clasificare ETIM Versiune 7.0

Imagini & Diagrame

Cosul dumneavoastra este gol.