Tastați câteva cuvinte pentru a găsi conținut eg:
fuse,arrestor,00110115 technical...
Căutări recente
Asistență tehnică
This email address is being protected from spambots. You need JavaScript enabled to view it.

Protecție supratensiuni ETITEC A 280/5/D-O 002442115

Disponibil
La cerere
Va rugam solicitati informatii despre produs.

Specificatii

Cod ETI:
002442115
Descriere:
ETITEC A 280/5/D-O
Denumire clasă:
Protecție supratensiuni
Tip:
T2
In (8/20) :
5kA
Parte superioara - Nivel de protectie a tensiunii (kV) :
0.9kV
Curent de scurgere :
DA
Tehnologie aplicata :
MOV
Semnalare la distanță :
NU
Funcție:
SPD
Grup Catalog:
ETITEC A
AC max continous operating voltage Uc:
280V

Produse

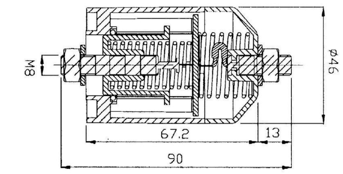
Greutatea produsului
0.15  kg
Tarif vamal
85363090  

Ambalare de baza

Cantitate
1  

ambalare pentru transport

Cantitate
40  
EAN
5904723002677  
Clasificare
EC000941
Denumire clasă
Surge protection device for power supply systems
System configuration DC
Nu
System configuration IT
Nu
System configuration TN
Da
System configuration TN-C
Da
System configuration TN-S
Da
System configuration TT
Nu
System configuration other
Nu
Number of conductors (without earthing)
1
Nominal discharge surge current (8/20)
5
Nominal voltage AC
230
Max. continuous voltage AC
280
Max. discharge surge current (8/20)
40
Mounting method
Direct mounting
Construction size
Other
Voltage protection level
0,9
With remote signalling contact
Nu
Integrated backup fuse
Nu
Signalling at the device
Optical
Category type 2
Da
Clasificare ETIM – Clasificare ETIM Versiune 7.0
Cosul dumneavoastra este gol.